携帯用植物乾燥機について
A new portable plant drier
東京大学ヒマラヤ植物調査隊が、1960年および1963年に使用した乾燥器について紹介する。
〇冨樫板(Togashi’s Grid)
従来用いられているジュラルミン波板は、一枚板であるために太い枝や果実の周辺に広い加庄不能の部分ができる。また多肉な標本の場合にはいちじるしい凹凸ができる。冨樫板は武田薬品工業の冨樫誠氏の考案したもので、特殊な形に曲げて作ったジュラルミンの角パイプをピアノ線ですだれ状に編んであり、前記ジェラルミン板の欠点を補うと共に、急速に乾燥させるために通気性を良くさせてある(Fig.1、3)。一方欠点は、加工が複雑なために商業ベースでの製作の引受け手がなく、作ったとしても非常に高価であること、ジェラルミン波板にくらべて使用しない時の体積がずっと大きいこと、ピアノ線の端が互にからみ合って扱い難いこと、などである。
〇加圧法(Pressing method)
冨樫板に採集品をはさみ、火力乾燥を行なうが、その際標本が収縮するのでバネを用いて常に圧力がかかるようにする。次の二通りの方法を用いた。いずれもバネが熱でなまらないようその位置を考慮してある。
A. 粋式 Fig.4のようなコの字形の枠につけた遊動アングルA2の下に冨樫板にはさんだ標本を置き、上から押し下げながらアングルA1をネジBで固定する(Fig.5)。枠式の長所は,一度固定が終ればあとは相当乱暴に扱っても崩れるおそれがないことである。欠点は、あまり多量の標本を処理できないこと、A2より上の部分が乾燥の際横に突出るので取扱いに不便な場合があること、標本をよく揃えておかないと枠内へ入れるのに手間がかかること、などであるが、次にのべる方法より取扱いが容易で安全である。
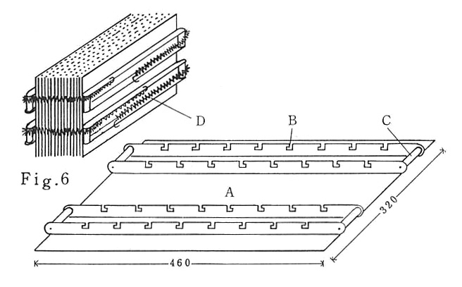
B. 長バネ式 Fig.6のように標本全体を長いバネで巻締める。バネの両端はフックになっていて、端板にある引掛け穴に固定する。この方法は上述のバネ式の欠点をすべてカバーしているが、締めつけたり運んだりする際にバランスをうまくとらないと、枠が無いために中央からふくれ出して崩れてしまうのが欠点である。加熱中に標本の収縮によっても崩れることがある。
〇加熱法(Drying method)
Fig.2に見られるような鉄製の台にのせて加熱したが、石などを組んでもよい。次の二とおりの方法を用いた。
A. 石油バーナーによる法(Fig.2) 台の高さは大形のバーナーが下に入るように作ってある。焰が直接当ると発火するので、細かい穴を開けた真鍮板(A)をのせて使用した。図では2個のバーナーを使っているが、通常は1セットにつき大形1個、中形3個を使用した。
B. 炭火による法 たき火をたいて「おき」を作り、これを台の下に敷きつめて加熱する。この方がAにくらべて加熱が一様であり、火加減がし易く、速くて安上りである。
〇標本製作中の注意と標本の出来具合(Treatment and condition of specimens)
採集品は新聞紙にはさんでそのまま重ねて紐でしばり、半日乃至1日放置した後、開いて姿勢を直してから冨樫坂にはさむ。これは主としで仕上りの美しさ、利用のし易さのためである。種類によって乾き方が異なるから、時々開いて乾いたものを取出し、配列を変えたり上下を逆にしたりして乾き易いようにする。太い枝などがあって通気のよい部分は、そこだけ早く乾いて発火するから注意を要する。乾燥器を使えるのは行軍中は通常午後4時以降であったが、乾かしはじめてから4日日には、多肉なもの以外はほとんど乾いてしまう。イネ科植物などでは夕方からかかって翌朝には乾いてしまうものもあった。出来上った標本は、利用する側から見ればいろいろ欠点がある。主なものは:1. 標本全体が黒味がかってもろくなる。2. 花などの色は失われる。3. ロウ質や精油分がとけたり変質したりする。4. 高温乾燥した標本は煮ても元に戻らず、解剖観察に使えないという人もある。5. 胞子、種子、花粉などは死んでしまうので、別にとっておく必要がある。これらはいずれも、我々の行動が連日の移動と限られた人夫の数という制約の下で、採集品をできるだけ早く軽くすることを要求された結果で、この種の調査旅行ではある程度やむを得ないことと思う。冨樫板約100枚、プレス4セットを用いて2カ月間で約5万点の標本を乾かした。この点からみると、この乾燥器は野外用として能率が良いものといえるだろう。
〇研究室での使用法(Laboratory use)
室内や日本国内の野外での標本乾燥に冨樫板を使用する必要はない。それよりはジュラルミン波板の方がかさばらないし安上りである。枠式や長バネ式の加圧法は野外において有用である。従来の吸温紙を交換する方法に代わって、ジュラルミン波板に標本をはさんで電熱器の上にのせる方法が最近行なわれるようになった。その際最初にのべたジュラルミン波板の欠点を補うためには、ポリウレタンスポンジのシートを用いるとよい。つまり、ジュラ板、標本、スポンジ、標本、ジュラ板という順序に重ねて行くのである。太い枝や根などのために加圧が不均一になる部分には、スポンジを更に局部的に入れる。加熱はポリウレタンが変性しない程度にする。従って加圧にはバネの代りにゴム紐でしばるのが簡単である。通風装置があれば一層有効である。筆者の経験では通風装置なしで50℃に放置して、約5日間で乾く。標本の作り方も人によっていろいろ工夫されていると思うので、公開していただきたいものである。
なお、冨樫板およびそれを用いたさく葉製作法については武田薬品工業株式会社が下記の特許権を所有していることを附記する。さく葉作製法Jap.Pat.436845、Fig.2286 さく葉製作乾燥板
Jap.Pat.442857、Fig.2547
[植物研究雑誌41(4):123-126(1966)]
注:本書収蔵にあたりRésuméは割愛した。
『金井弘夫著作集 植物・探検・書評』コンテンツ一覧▼ 目次(青字)をクリックすると、各文をご覧いただけます
- はじめに
- 夏休みは4月
- 「古」新聞の値段
- 街頭の商人達
- 乞食
- ボクセス
- 良いお金と悪いお金
- 水
- お茶
- オナラ
- 立小便
- 近づくほど遠くなる
- 踏切に錠前
- 汽車
- バス
- 市電
- インド人という「民族」
- アッチャー
- タバコ
- お酒
- ビール
- ウイスキー
- ラム
- チャン
- マフア酒とヨーグルト
- 朝のお祈り
- 国境侵犯
- 二人のリエゾン・オフィサー
- シェルパたち
- アンプルパ
- トゥンドウ
- プルバ・ロブソン
- テンバ・シェルパ
- 女性たち
- ラマ教
- 山で一番こわかったもの
- お菓子
- 名前
- 宿屋
- インドの道の良さ
- フェリー
- 牛
- 交通法規
- カストムハウス
- 風呂
- 拍子木たたき
- バルカカナの日本人
- ボダイジュの借り倒し
- タテガミのあるブタ
- 封蝋
- 食いもの
- カースト(階級制度)
- デモ
- 鶏と卵
- 切符を買う
- 街路樹
- 事故
- インドの英語
- 悪路に悩む採集行
- ヒマラヤで見る段々畑
- 調査成果の一端
- 入国手続き、旅行許可など
- 入出国の経路
- 国内の輸送、通信、シェルパなど
- 物資の調達
- 気候
- 地図、コースについて
- チンプウ-トンサ
- 観察されたピーク
- 集落
- 通貨、賃金
- 失せ物が出た
- 通関書類、フィニッシュ
- リエゾン・オフィサー、フィニッシュ
- ミソとストーブ、フィニッシュ
- スペース、フィニッシュ
- チニ、フィニッシュ
- サーダー、フィニッシュ
- ポーター、フィニッシュ
- 道路とジープ、フィニッシュ
- ブルカー、フィニッシュ
- 標本、フィニッシュ
- 道路、もうひとつのフィニッシュ
- シェルパ、フィニッシュ
- トラック、フィニッシュ
- チャッシガレ!
- おまじない、ハチ
- 録音
- ハリー
- 食物
- こわいもの
- カトマンズ(1)
- フルチョウキ
- カトマンズ(2)
- チュリア・マハバラトの旅
- ゴサインクンデの旅
- ボダイジュのほこら
- カトマンズ(3)
- ロルカニの旅
- カトマンズ(4)
- チリメ、ランタンの旅
- チャンドラギリの旅
- 自動車事故のはなし
- 創立記念パーティー
- カリンチョークの旅(1)
- インドラジャトラ
- カリンチョークの旅(2)
- チュリアの旅
- 仮ラベルに関して
- 本ラベルに関して
- データベースに関して
- 冨樫板
- 加圧法
- 加熱法
- 標本製作中の注意と標本の出来具合
- 研究室での使用法
- Herbariumの体制
- 大学と博物館の違い
- どうやるか
- データベースを作ったあと
- 画像データベース
- 住吉小学校の「住吉」研究
- 住吉小学校はいくつあるか
- 住吉神社はどのくらいあるか
- 住吉という地名はどうだろう
- IT化時代の学習
- どんなものか
- どうやって作ったか
- 索引のスタイル
- よみの問題
- 分布地図
- 「鐙」の分布
- JIS漢字表の問題
- データベース仕様
- データベース作成の方法
- 調整を要する用語の方針と方法
- コンサイス地名辞典日本編
- 現代日本地名よみかた大辞典 1-6巻
- 知っておきたい災害と植物地名
- 日本湿地目録
- 日本山名総覧
- FD日本山名総覧「全国版」
- 数値地図 25.000(地名・公共施設)全国CD-ROM版
- 植物学ラテン語辞典
- 国際植物命名規約1988
- 植物学名詞
- 菌学用語集
- 植物学名大辞典
- 植物の名前のつけかた植物学入門
- 日本苗字大辞典
- 図説植物用語辞典
- 国際栽培植物命名規約第7版
- 清瀬の自然フィールドガイド春
- 東京西郊野外植物の観察
- GPS全日本ロードマップ
- ヨコハマ植物散歩
- 東京樹木めぐり
- 巨樹・巨木
- ぐるっと日本列島野の花の旅
- 続巨樹・巨木
- 地べたで再発見「東京」の凸凹地図
- 東京大学本郷キャンパス案内
- 雷竜の花園
- 秘境・崑崙を行く
- 中国秘境に咲く花
- 青いケシの咲くところⅡ
- シルクロードに生きる植物たち
- ヒマラヤを越えた花々
- 幻の植物を追って
- ロンドンの小さな博物館
- ヒマラヤに花を追う
- ヒマラヤの青いケシ
- 白井光太郎著作集
- 進野久五郎植物コレクション
- 来し方の記8
- 横内齋著作集2
- 李永魯文集
- MAKINO80『植物同好会』八十年の歩み
- しだとこけ 服部新佐先生追悼記念号
- 小泉秀雄植物図集
- 籾山泰一先生論文集
- 私の研究履歴書-昭和植物学60年を歩む-
[林孝三]
- 命あるかぎり-花と樹と人と-見明長門追悼集
- 中尾佐助文献・資料目録
- 牧野晩成
- 沼田真・著作総目録
- 牧野富太郎とマキシモヴィッチ
- 牧野富太郎著・植物一家言
- 誰がスーリエを殺したか1
- 展望河口慧海論
- 「イチョウ精子発見」の検証
- 牧野富太郎植物採集行動録
- 大雪山の父・小泉秀雄
- 大場秀章著作選Ⅰ
- 大場秀章著作選Ⅱ
- 小原敬先生著作集
- 植物文化人物事典
- 清末忠人研究集録
- 自然と教育を語る
- 現代文明ふたつの源流
- 栽培植物の起源と伝播
- 江戸時代中期における諸藩の農作物
- 日本の植物園
- アジアの花食文化
- いのちある野の花
- 江戸参府随行記
- ボタニカルモンキー
- 菌類認識史資料
- 植物学と植物画
- 黒船が持ち帰った植物たち
- 日本植物研究の歴史
- 植物園の話
- バラの誕生
- 絵で見る伝統園芸植物と文化
- 江戸の植物学
- 現代いけばな花材事典
- 花の男シーボルト
- サラダ野菜の植物史
- すしネタの自然史
- シーボルト日本植物誌 文庫版
- 環境アセスメントのための北海道高等植物目録Ⅳ
- 宮城県植物目録 2000
- 秋田県植物分布図
- 秋田県植物分布図第2版
- 茨城県植物誌
- とちぎの植物Ⅰ,Ⅱ
- 日光杉並木街道の植物
- 渡良瀬川支流山塊の高等植物 類似植物の見分け方ハンドブック
- 渡良瀬川支流山塊の高等植物
- 群馬の里山の植物
- 群馬県タケ・ササ類植物誌
- 群馬県植物誌改訂版
- 館林市の植物
- 尾瀬を守る
- 1998年版埼玉県植物誌
- さいたまレッドデータブック
- 千葉県植物誌
- 千葉県の自然誌
- 富里の植物
- 続江東区の野草
- 小笠原植物図譜
- 神奈川県植物誌分布図集
- 横浜の植物
- Yato横浜 新治の自然誌
- 箱根の樹木
- 新潟県植物分布図集第6集
- 新潟県植物分布図集第7集
- 新潟県植物分布図集第10集
- 新潟県植物分布図集第1-10集登載植物および索引
- 石川県樹木分布図集
- 加賀能登の植物図譜
- 金沢大学薬学部付属薬用植物園所蔵標本目録
白山の植物
- 信州のシダ
- 長野県の植生
- 長野県植物研究会誌第20号
- 長野県版レッドデータブック維管束植物編
- 長野県植物ハンドブック
- 伊部谷の植物
- 植物への挽歌
- しなの帰化植物図鑑
- 37人が語るわが心の軽井沢1911-1945
- 近畿地方の保護上重要な植物
- 改訂・近畿地方の保護上重要な植物
- 近畿地方植物誌
- 高山市の植物
- 改定三重県帰化植物誌
- 兵庫県の樹木誌
- ひょうごの野生植物
- 播磨の植物
- 平成元年度箕面川ダム自然回復工事の効果調査報告
- 六甲山地の植物誌
- 淡路島の植物誌
- 奈良公園の植物
- 岡山県スゲ科植物図譜
- 広島県文化百選 花と木編
- 広島市の動植物
- 山口県の植物方言集覧
- 山口県の巨樹資料
- 徳島県野草図鑑〈下〉
- えひめの木の名の由来
- 福岡県植物目録 第2巻
- 熊本の野草〈上〉〈下〉
- 熊本の木と花
- 鹿児島県の植物図鑑
- 改訂鹿児島県植物目録
- 沖縄植物野外活用図鑑全6巻
- 沖縄県の絶滅のおそれのある野生生物
- 琉球列島維管束植物集覧
- 孤島の生物たち-ガラバゴスと小笠原
- ブラジル産薬用植物事典
- キナバル山の植物
- 韓国産松柏類
- 韓国植物検索便覚
- 韓国植物分類学史概説
- 中国人民共和国植被図
- 中国天山の植物
- 雲南の植物
- 雲南の植物
- 東北葯用植物
- ヒマラヤの自然誌
- ヒマラヤ植物大図鑑
- ネパール研究ガイト
- スイスアルプスの植物
- 屋久島原生自然環境保全地域調査報告書
- 昭和63年度レアメタル賦存状況調査報告書
- 帰化植物のはなし
- レッドデータプランツ
- 植物からの警告・生物多様性の自然史
- エコロジーガイド・ウェットランドの自然
- 植物群落レッドデータブック
- 日本森林紀行
- 温暖化に追われる生き物たち
- 水生シダは生きる
- 侵略とかく乱のはてに
- 各都道府県別の植物自然史研究の現状
- 日本の絶滅危惧植物図譜
- 絶滅危惧植物図鑑レッドデータプランツ
- 新しい植物検索法 離弁花類編
- 日本タケ科植物総目録
- 新しい植物検索法 合弁花類篇
- 北日本産樹木図集
- 動植物目録
- 日本件名図書目録⑨ 動・植物関係
- 山野草植物図鑑
- 植物目録
- 日本の高山植物
- 世界の針葉樹
- 検索入門樹木
- 葉による野生植物の検索図鑑
- 英語表現べからず辞典
- 日本イネ科植物図譜
- 改訂増補 牧野日本植物図鑑
- 日本の自生蘭
- 北本州産高等植物チェックリスト
- 日本水草図鑑
- 日本草本植物根系図説
- 日本のスミレ
- 日本で育つ熱帯花木植栽事典
- 植物の系統
- 日本タケ科植物図譜
- 日本の野生植物 コケ
- 日本花名鑑1
- 樹に咲く花 合弁花 単子葉 裸子植物
- 高山に咲く花
- 日本花名鑑2
- 日本の帰化植物
- ツバキとサクラ
- カエデの本
- 新日本の桜
- 日本のスゲ
- 日本の野菊
- 日本花名鑑4
- 日本海草図譜
- 花と昆虫
- 樹木
- 平行植物
- 描く・植物スケッチ
- 植物観察入門
- 野草 1-15巻+別巻
- 折々草
- みどりの香り 青葉アルコールの秘密
- 誰がために花は咲く
- 草花の観察「すみれ」
- 人に踏まれて強くなる雑草学入門
- 花生態学入門 花にひめられたなぞを解くために
- ブナ林の自然誌
- 原寸イラストによる落葉図鑑
- 人里の自然
- 虫こぶ入門
- 森のシナリオ
- シダ植物の自然史
- 花と昆虫がつくる自然
- 文明が育てた植物たち
- 雑草の自然史
- セコイアの森
- 植物の私生活
- ツリーウォッチング入門
- 根も葉もある植物談義
- 花の観察学入門
- 野の花山の花
- ため池の自然
- 花と昆虫 不思議なだましあい発見記
- 道端植物園
- タンポポとカワラノギク
- どんぐりの図鑑
- 植物のかたち
- せいたかだいおう-ヒマラヤのふしぎなはな
- コケ類研究の手引き
- 虫こぶハンドブック
- 虫こぶ入門
- ひっつきむしの図鑑
- 樹木見分けのポイント図鑑, 野草見分けのポイント図鑑
- 植物生活史図鑑Ⅰ, Ⅱ
- 絵でわかる植物の世界
- 「野草」総索引
- 「野草」植物名総索引 第1巻~第70巻
- 標本をつくろう
- わたしの研究 どんぐりの穴のひみつ
- どんぐり見聞録
- ほんとの植物観察, 続ほんとの植物観察
- キヨスミウツボの生活
- 発見!植物の力1~10
- 帰化植物を楽しむ
- 花からたねへ
- 植物と菌類30講
- 自然史関係大学所蔵標本総覧
- 国立科学博物館蔵書目録和文編
- デジタルミューゼアム
- 牧野植物図鑑の謎
- Systema Naturae 標本は語る
- 牧野標本館所蔵のシーボルトコレクション
- 牧野標本館所蔵シーボルトコレクションデータペース CD-ROM版
- Manual for Tropical Herbaria, Regnum Vegetabile
- The Asiatic Species of Osbeckia
- Biological Identification with Computers
- A Geographical Atlas of World Weeds
- Neo-lineamenta Florae Manshuricae
- Atlas of Seeds Part 3
- Alpine Flora of Kashmir Himalaya
- Botticelli's Primavera
- Index to Specimens Filed in the New York Botanical Garden Vascular Plant Type Herbarium
- Elsvier's Dictionary of Trees and Shrubs
- Medicinal Plants in Tropical West Africa
- Fodder Trees and Tree Fodder in Nepal
- Nepal Himalaya, Geo-ecological Perspectives
- Leaf Venation Patterns
- Development amid Environmental and Cultural Preservation
- The Lilies of China
- Kew Index for 1986
- Catalog of Moss Specimens from Antarctica and Adjacent Regions
- The mountains of Central Asia
- Trees of the southeastern United States
- A New Key to Wild Flowers
- Flora of upper Lidder Valleys of Kashmir Himalaya
- Systematic Studies in Polygonaceae of Kashmir Himalaya Vol.1
- Flowers of the Himalaya, a Supplement
- Plant Taxonomy and Biosystematics, 2nd ed.
- Plant Evolutionary Biology
- Lilacs, the Genus Syringa
- Ornamental Rainforest Plants in Australia
- Forest Plants of Nepal
- Plant Taxonomy, the Systematic Evaluation of Comparative Data
- Woody plants
- The Evolutionary Ecology of Plants
- The Forest Carpet
- Cryptogams of the Himalayas Vol.2., Central and Eastern Nepal.
- Pattern Formation in Plant Tissues
- Plant Genetic Resources of Ethiopia
- Leaf Architecture of the Woody Dicotyledons from Tropical and Subtropical China
- Palaeoethnobotany
- A Bibliograpby of the Plant Science of Nepal
- C.P. Thunberg's Drawings of Japanese Plants
- Temperate Bamboo Quarterly 2
- Index of Geogrphical Names of Nepal
- A Revision of the Genus Rhododendron in Japan, Taiwan, Korea and Sakhalin
- A Bibliography of the Plant Science of Nepal. Sipplement 1
- The Iceman and His Environment, Palaeobotanical Results
- The Cambridge Illustrated Glossary of Botanical Terms
- Handbook of Ayurvedic Medicinal Plants
- Ethnobotany of Nepal
- Himalayan Botany in the Twentieth and Twenty-first Centuries
- Meristematic Tissues in Plant Growth and Development
- Proceedings of Nepal-Japan Joint Symposium on Conservation and Utilization of Himalayan Medicinal Resources
- The Orchids of Bhutan
- Beautiful Orchids of Nepal
書籍詳細
-
残部僅少
[2008/09/30]
金井弘夫著作集 植物・探検・書評
元・国立科学博物館 金井弘夫 著
菊判 / 上製 / 904頁/ 定価15,715円(本体14,286+税)/ ISBN978-4-900358-62-1
営業日カレンダー
Calendar Loading
=休業日
土曜・日曜・祝日・GW休暇・夏季休暇・冬季休暇(年末年始)
- (一社)日本公園施設業協会会員
- SP・SPL表示認定企業
- ISO9001認証取得企業
アボック社は(一社)日本公園施設業協会の審査を経て「公園施設/遊具の安全に関する規準JPFA-SP-S:2024 」に準拠した安全な公園施設の設計・製造・販売・施工・点検・修繕を行う企業として認定されています。

For the happiness of the next generations